Working conditions
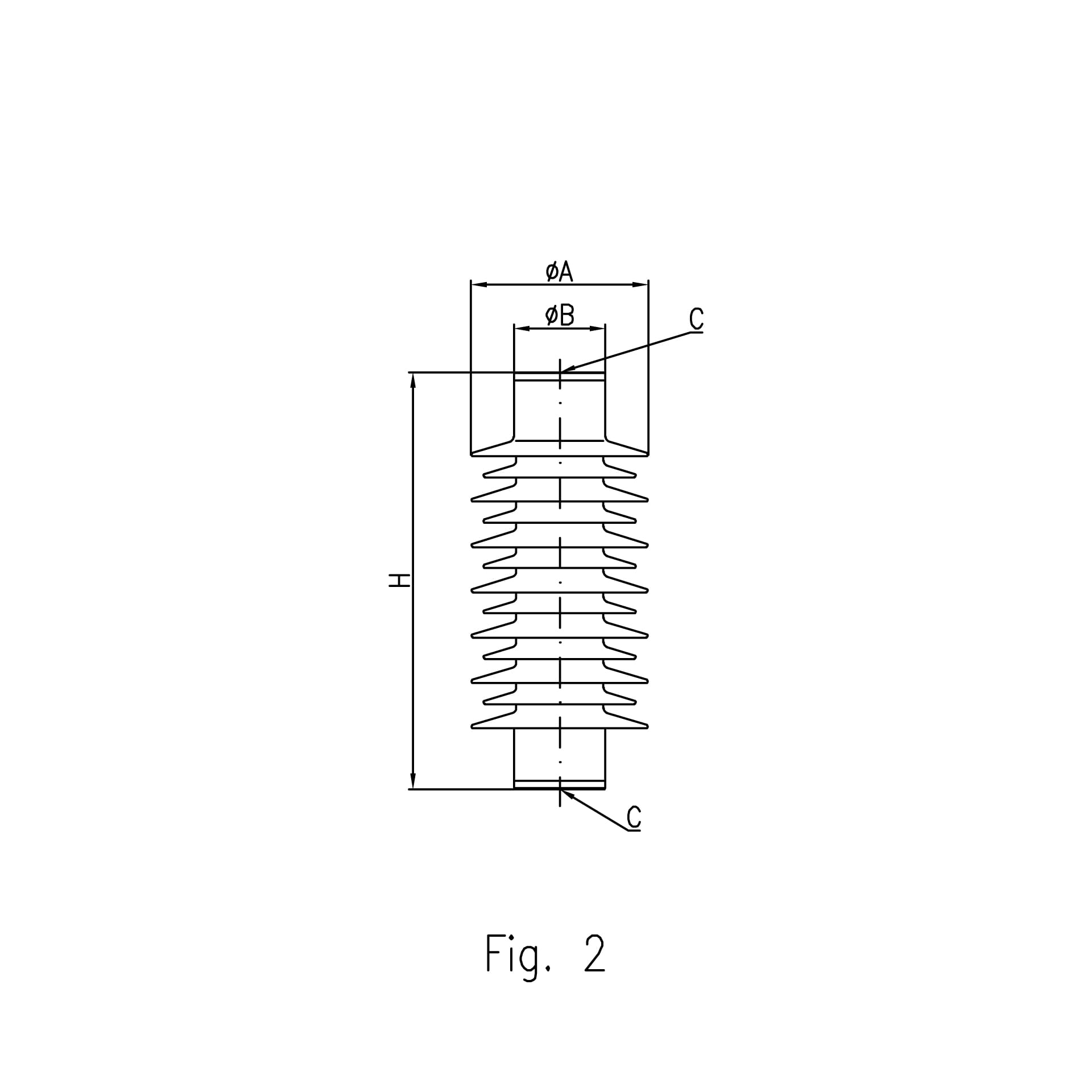
PROXAR-IVN AC arresters are designed for outdoor and indoor use in temperate and tropical climates at altitudes up to 1,000 m above sea level. Their compact dimensions also allow installation in switchgear with a minimum pole spacing of 150 mm. These arresters can be additionally equipped with a special three-arm base allowing for seamless installation in place of worn-out legacy lightning arresters (e.g., GZM, GXS, or POLIM H ND).



























